YAMAHA CORPORATION
CRW4001T, CRW4261T
| Device Type | Internal CD-RW |
| Interface | ATAPI |
| Spin Rate (Read/Write) | 6x/4x |
| Formats Supported Read | CD-XA, CD-DA, CD-I, CD-ROM (Mode 1 & Mode 2), CD-Bridge, CD-Extra, CD-Video |
| Formats Supported Write | CD-XA, CD-DA, CD-I, CD-ROM (Mode 1 & Mode 2), CD-Bridge, CD-Extra, CD-Video |
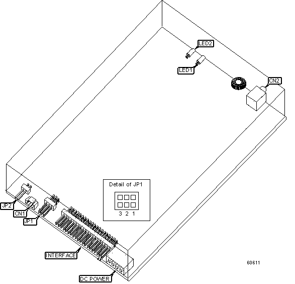
| View | Top |

CONNECTIONS |
|||
Function |
Label |
Function |
Label |
| Audio line out | CN1 |
Headphone | CN2 |
USER CONFIGURABLE SETTINGS |
|||
Setting |
Label |
Position |
|
» |
Factory configured - do not alter | JP2 |
Unidentified |
ATAPI MASTER/SLAVE |
||||
Setting |
JP1/1 |
JP1/2 |
JP1/3 |
|
| » | Master in two drive system | Closed |
Open |
Open |
| Slave in two drive system | Open |
Closed |
Open |
|
| Master/slave determined by cable select | Open |
Open |
Closed |
|
DIAGNOSTIC LED(S) |
|||
LED |
Color |
Status |
Condition |
LED1 |
Orange |
On |
Power is on |
LED1 |
Orange |
Off |
Power is off |
LED1 |
Green |
On |
Unit contains a disc |
LED2 |
Green |
On |
Data is being transmitted |
LED2 |
Green |
Blinking |
Data is being accessed |
LED2 |
Orange |
On |
Data is being recorded |