EXP COMPUTER, INC.
CDG-821
| Device Type | External CD-ROM with game adapter |
| Interface | PCMCIA |
| Spin Rate | Unidentified |
| Formats Supported | CD-XA, CD-DA, CD-R, CD-ROM (Mode 1 & Mode 2), Photo-CD |
| View | Top |

CONNECTIONS |
|||
Function |
Label |
Function |
Label |
| Audio line out | CN1 |
Headphone | CN3 |
| AC adapter jack | CN2 |
||
USER CONFIGURABLE SETTINGS |
|||
Setting |
Label |
Position |
|
| Battery power source | SW1 |
Unidentified |
|
| AC adapter power source | SW1 |
Unidentified |
|
DIAGNOSTIC LED(S) |
|||
LED |
Color |
Status |
Condition |
LED1 |
Green |
On |
Power is on |
LED1 |
Green |
Off |
Power is off |
LED1 |
Green |
Blinking |
Data is being transmitted |

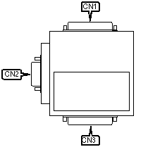
CONNECTIONS |
|||
Function |
Label |
Function |
Label |
| CD-ROM connector | CN1 |
PCMCIA interface connector | CN3 |
| Game port connector | CN2 |
||