TECMAR TECHNOLOGIES, INC.
TS420C (REV. A)
| Device Type | Internal Tape Drive |
| Interface | SCSI |
| Format | QICWide, Travan TR-4 |
| Sustained Transfer Rate | Unidentified |
| Size | 3.5 in. third height (5.25 in. half height with bezel) |
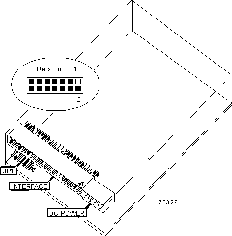
| View | Top |

USER CONFIGURABLE SETTINGS |
|||
Setting |
Label |
Position |
|
| » | Inquiry String Emulation Mode enabled | JP1/Pins 7 & 8 |
Closed |
| Inquiry String Emulation Mode disabled | JP1/Pins 7 & 8 |
Open |
|
| » | Compression enabled | JP1/Pins 9 & 10 |
Closed |
| Compression disabled | JP1/Pins 9 & 10 |
Open |
|
| » | Termination enabled | JP1/Pins 11 & 12 |
Closed |
| Termination disabled | JP1/Pins 11 & 12 |
Open |
|
| » | Factory configured - do not alter | JP1/Pins 13 & 14 |
O pen |
| Note: Inquiry String Emulation Mode works in conjunction with the software driver. When enabled, the drive responds to system inquiries as a Wangtek Model 51000. Driver designed for Wangtek Model 51000 should be used if Inquiry String Emulation Mode is enabled. | |||
DRIVE SELECT ID |
||||
Drive ID |
JP1/Pins 1 & 2 |
JP1/Pins 3 & 4 |
JP1/Pins 5 & 6 |
|
0 |
Open |
Open |
Open |
|
1 |
Closed |
Open |
Open |
|
2 |
Open |
Closed |
Open |
|
3 |
Closed |
Closed |
Open |
|
| » | 4 |
Open |
Open |
Closed |
5 |
Closed |
Open |
Closed |
|
6 |
Open |
Closed |
Closed |
|
7 |
Closed |
Closed |
Closed |
|
MANUFACTURERS RECOMMENDED MEDIA |
||
Tape |
Capacity Without Compression |
Capacity With Compression |
QICWide |
2.0GB |
4.0GB |
Travan 4 |
4.0GB |
8.0GB |

DIAGNOSTIC LED(S) |
|||
LED |
Color |
Status |
Condition |
LED1 |
Green |
On |
Drive ready/cartridge loaded and initialized |
LED1 |
Green |
Slow Flash |
Drive is active or a cartridge is being initialized |
LED1 |
Green |
Fast Flash |
Drive firmware is being downloaded and updated or a drive fault has occurred |
LED1 |
Green |
Off |
Drive not active |