SONY CORPORATION
SDT-10000, SDT-11000
| Device Type | Internal tape drive |
| Interface | SCSI |
| Format | DAT, DDS, DDS-2, DDS-3, DDS-4, DDS-DC, DCLZ |
| Sustained Transfer Rate | 4.7 MBPS |
| Size | 5.25 in. half height |
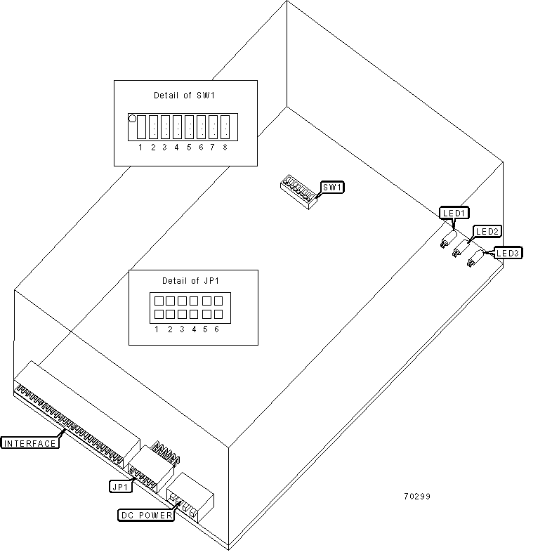
| View | Top |

USER CONFIGURABLE SETTINGS |
|||
Setting |
Label |
Position |
|
| » | Factory configured - do not alter | JP1/1 | Unidentified |
| » | Factory configured - do not alter | JP1/2 | Unidentified |
| » | Factory configured - do not alter | SW1/1 | Off |
| » | Factory configured - do not alter | SW1/2 | Off |
| » | Factory configured - do not alter | SW1/3 | Off |
| » | Factory configured - do not alter | SW1/4 | Off |
| » | Termination power enabled | SW1/5 | On |
| Termination power disabled | SW1/5 | Off | |
| » | Factory configured - do not alter | SW1/6 | Off |
SCSI ID SELECTION |
||||
SCSI ID |
JP1/3 | JP1/4 | JP1/5 | JP1/6 |
0 |
Open | Open | Open | Open |
1 |
Open | Open | Open | Closed |
2 |
Open | Open | Closed | Open |
3 |
Open | Open | Closed | Closed |
| 4 | Open | Closed | Open | Open |
| 5 | Open | Closed | Open | Closed |
| 6 | Open | Closed | Closed | Open |
| 7 | Open | Closed | Closed | Closed |
| 8 | Closed | Open | Open | Open |
| 9 | Closed | Open | Open | Closed |
| 10 | Closed | Open | Closed | Open |
| 11 | Closed | Open | Closed | Closed |
| 12 | Closed | Closed | Open | Open |
| 13 | Closed | Closed | Open | Closed |
| 14 | Closed | Closed | Closed | Open |
| 15 | Closed | Closed | Closed | Closed |
USER CONFIGURABLE SETTINGS |
|||
Setting |
Label |
Position |
|
| » | Factory configured - do not alter | JP1/1 | Unidentified |
| » | Factory configured - do not alter | JP1/2 | Unidentified |
| » | Factory configured - do not alter | SW1/1 | Off |
| » | Factory configured - do not alter | SW1/2 | Off |
| » | Factory configured - do not alter | SW1/3 | Off |
| » | Factory configured - do not alter | SW1/4 | Off |
| » | Termination power enabled | SW1/5 | On |
| Termination power disabled | SW1/5 | Off | |
| » | Factory configured - do not alter | SW1/6 | Off |
| DATA COMPRESSION SELECTION | |||
| Setting | SW1/7 | SW1/8 | |
| Onboard compression disabled - host controls compression | Off | Off | |
| Onboard compression disabled - host does not control compression | Off | On | |
| » | Onboard compression enabled - host controls compression | On | Off |
| Onboard compression enabled - host does not control compression | On | On | |
DIAGNOSTIC LED(S) |
|||
LED1 |
LED1 |
LED3 |
Condition |
| Off | Off |
Off |
No drive activity is occurring. |
| On | Off |
Off |
Data activity is occurring on the interface, no tape is loaded. |
| Blinking (fast) | Blinking (fast) |
Off |
Tape is loading or unloading. |
| Blinking (fast) | Blinking (fast) | On | Tape is loading or unloading, write protect is enabled. |
| Off | On | Off | Tape is loaded in the drive. |
| On | On | Off | Data activity is occurring on the interface, tape is loaded. |
| Blinking (fast) | On | Off | Data is being written or read to the the loaded tape. |
| N/A | On | On | Tape is loaded, write protect is enabled. |
| Off | On | Blinking (fast) | Cleaning tape is loaded. |
| N/A | Blinking (slow) | N/A | Tape is loaded, error has occurred. |
| N/A | N/A | Blinking (slow) | Cleaning is needed. |
| N/A | N/A | Blinking (pulse) | Power on self test has failed. |
| Blinking | N/A | N/A | Drive is waiting for reset. |
| N/A | Blinking | N/A | Drive is waiting for tape to eject. |